Failsafe for boiler?
I've purchased two different types of temp sensors for monitoring the operation of my boiler. Over time I've noticed that these don't always work consistently well, which got me to thinking about the boiler operation and safety.
This boiler (Burnham ES27) internally monitors the water temperature and based on that turns the burners on and off. Whatever sensor is doing that appears to me to be a single point of failure in the system. What would happen for example if that sensor failed and the burner kept firing? The temperature could the theoretically keep rising, perhaps to an unsafe level.
Perhaps there is some sort of internal logic in the boiler control board that would prevent this from happening. But if there is not, wouldn't it be prudent to attach some external pipe sensor on the system that would shut down the boiler if the system temperature crossed some threshold? Say 180F? Has anyone ever done this on an install?
I realize that the call for heat would likely be satisfied before the water temperature reached dangerous levels, so maybe that is the failsafe.
Eric Peterson
Comments
-
That's not the only single point failure which can keep a boiler firing. I know that doesn't cheer you up any…
The ultimate safety (and it's not totally goof proof…) is the pressure relief valve (or on a hot water system, the temperature/pressure relief valve). While it won't prevent the boiler continuing to fire, it will prevent the pressure or temperature from rising above its release point. Now there is an important point here: there must also be a water supply to prevent the boiler from losing too much water — or a low water cutoff to interrupt power if the water level gets too low — or both.
That said, for a hot water system there would be no harm to having a simple aquastat — SIMPLE; a thermal sensing element (bimetal or capillary) controlling contacts which would interrupt power to the boiler if the desired temperature were exceeded. The trick there is two fold: first, it should be manual reset, and second it should interrupt the mains power, not a control circuit.
Br. Jamie, osb
Building superintendent/caretaker, 7200 sq. ft. historic house museum with dependencies in New England0 -
cue discussion 953 about if the supply to the prv should be left open or not.
0 -
You'd probably want to set the manual reset aquastat to just shy of boiling to prevent nuisance tripping if the operating aquastat didn't happen to sense the hottest point of the boiler and the manual reset aquastat did. commercial systems over a certain size require a second gas valve on the safety controls I think.
0 -
Depends on if you care to read and follow manufacturer's direction.
0 -
Many boilers have a operating temperature control and a high limit. It they use two separate sensors you have twice the protection.
An additional LWCV would prevent a dry fire, and still some boilers have a pressure switch as a protection.
Bob "hot rod" Rohr
trainer for Caleffi NA
Living the hydronic dream0 -
All boilers have a high limit in addition to whatever operates the boiler. We had issues in MA. where inspectors wanted low water cutoffs on mod cons and the mod con mfgs relied on a flow switch or pressure switch to prove the boiler had water in it. There were a few battles about that when MOD CONS first came out.
0 -
Thanks for the feedback.
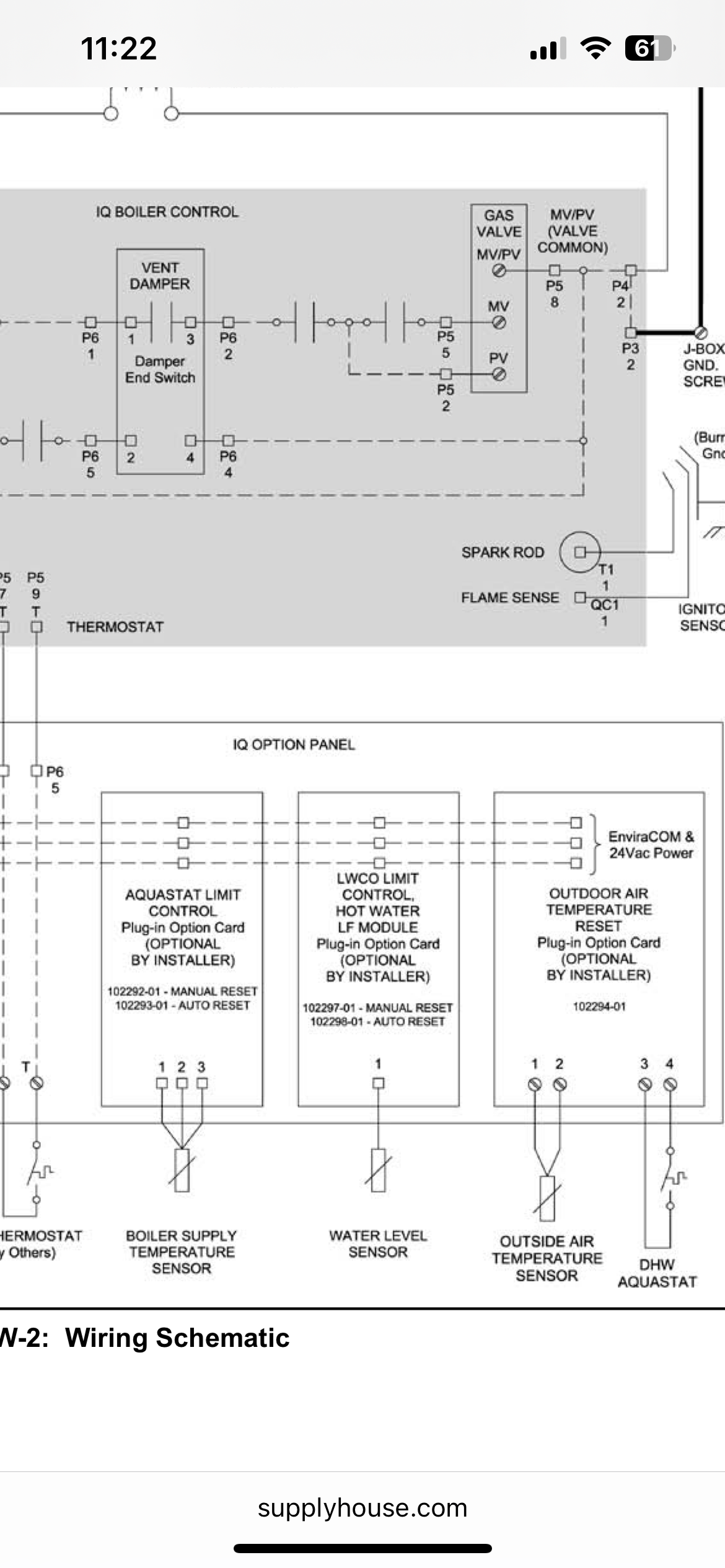
Looking at the wiring diagram for the ES27 from the ES2_IOManual, it appears to me that there is a single sensor for water temperature - "Boiler Limit Temperature Sensor". Maybe I missed something.
Burnham used to make an Option Card for an "Aquastat Limit Control" but they stopped making it in 2018 and it's no longer available. There are 3rd party products available though as @Jamie Hall mentioned.
I'm fairly certain that the call for heat would stop long before the water would get hot enough to blow the PRV.
Eric
0 -
the most common installation of a fixed high limit for cast iron boilers is a 3rd party device,
Several contractors in my area use this one. I mostly sell condensing boilers and they are always factory installed, even then I have some customers that like the external one
search supply house for this the link isn't working
L4006H1004
0 -
it looks like that boiler has optional, installer supplied cards for additional safeties
LWC, manual or auto reset limit, odr
Bob "hot rod" Rohr
trainer for Caleffi NA
Living the hydronic dream0 -
the manual reset high limit one is discontinued it looks like. I imagine they ran into some kind of CSD-1 compliance issue or something. the LWCO and ODR are still available.
0 -
I have never seen a boiler sold without a high limit installed from the factory or at the very least shipped with the boiler with instructions to install it. Same thing with a safety or relief valve.
0 -
The Burnham ES27 does indeed have a high limit sensor, it is internal to the boiler.
Eric
0
Categories
- All Categories
- 87.5K THE MAIN WALL
- 3.3K A-C, Heat Pumps & Refrigeration
- 61 Biomass
- 430 Carbon Monoxide Awareness
- 123 Chimneys & Flues
- 2.1K Domestic Hot Water
- 5.9K Gas Heating
- 118 Geothermal
- 170 Indoor-Air Quality
- 3.8K Oil Heating
- 78 Pipe Deterioration
- 1K Plumbing
- 6.6K Radiant Heating
- 395 Solar
- 15.9K Strictly Steam
- 3.5K Thermostats and Controls
- 57 Water Quality
- 51 Industry Classes
- 51 Job Opportunities
- 18 Recall Announcements


